主站内容的审核教程(主站)
一、“登陆”与“进入会员中心”
主站的任何栏目,都可以指定人员审核;可以不同的人审核不同的栏目;也可以一人审核所有主站栏目。
总结就是:主站权限可以细化到个人、细化到栏目。 审核内容都在会员中心操作。
1) 、管理员人员登陆账号
登陆分为“统一登陆入口”和前台常规登陆 登陆详细教程>>

2) 、登陆后,点击“会员中心”进入
-----进去后可以进行内容发布、内容审核、更新首页
![]()
3) 、进入内容审核界面:点击“我签核的内容”
我们一般那90%的概率,都只需要在“需直接审核的内容”处点击,因为一般都只要一级审核机制。
如果栏目内容需多级审核,就会用到“需初审核的内容”和“需多级审核的内容”。
审核界面页面效果如下:

下面我们开始来进行内容审核操作吧。
二、常规直接审核方式(最常见)
1)、直接进行内容审核方式
如果一个人对这个栏目既拥有初审,也拥有终审权力,那么为了审核内容简单起见,只需在“需直接审核”按钮下审核内容即可。 在进入”我签核的内容”页面状态下,具体步骤如下:
先点击“需直接审核”按钮------------这样可以看到我所需要的待审核的内容------再预览下这些投稿内容----------接着点击“未审”按钮,进行“终审”或“退稿”-------最后点击下面的“确定”按钮

2) 、更新首页操作
更新首页:上面的界面中,右边有一个“更新首页”----------如果想审核后的内容立刻在首页显示,请点击此处。
他的作用是更新缓存和静态首页(如果提示登录后台,就根据提示输入自己账号密码即可)。

这样打开网站首页或对应栏目,刷新下浏览器,就可以看到新审核的内容了!
三、多级审核方式(较少使用)
如果一个栏目内容,我们需要先给第一个领导审核,然后再給第二个领导进行终审,那么就需要用到多级审核。系统事先会做这些用户做好权限设置;同样也是进入“我签核的内容”页面状态下,具体步骤如下:
1)、初审操作
拥有该栏目内容初审权限的人,点击“需初审核”进行相关操作即可。

2)、终审操作;
如果此账号,只拥有该栏目内容终审权限,但没有初审权限的人,就点击“需多级审核”进行相关操作即可

四、其他快捷按钮
1)、批量操作
点击此按钮,需要提示登录后台,有进入后台权限的人输入账号密码即可;拥有该初审权限的人,可以看到自己管理的栏目,方便批量处理和查询。

点击批量操作后的界面-----各个栏目和内容都可以点击,并搜索

2)、修改与删除
需要修改和删除待审核内容的,点击此处。

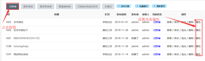
3)、属性设置
一般对审核后的内容进行属性设置;点击已终审-------点击属性按钮。

可以对内容进行属性设置(首页头条、推荐、首页幻灯片等)、可以推送数据到子站、签发数据到多个栏目,等各种操作

4)、更新首页
有时候用户问,发布后的内容没有在首页看到,那是因为系统由缓存的原因。点击更新下首页即可。

其他关联教程:
子站的内容审核教程:http://www.php168.net/html/1285/2019-01-14/content-1634.shtml