国微子站管理员(后台管理)
此教程为子站内容审核教程;此教程配套了视频操作教程。
一、子站统一登陆入口(后台)
所有用户登录,都集中在此界面;各自选择站点入口; 一般网址是: 动态域名/dl.html
子站后台入口:各子站会员中心(发布内容) 、各子站后台、各子站首页标签、各子站首页;
点击“后台”进入分站后台地址。

二、子站后台功能说明
站群子站后台可以进行一些常规操作功能,整理如下,让大家有个宏观了解
A:快捷处理按钮(更新缓存、静态栏目、静态首页;网站看不到效果,先点击这一波)
B:当前站点:必须先切换到所需站点,才能去管理当前后台的各个功能。
C:站点管理:创建站点、恢复误删站点、显示所有站点列表、所有站点内容集中显示
D:栏目管理:创建栏目、恢复误删栏目、栏目管理清单
E:内容管理:发布内容、内容列表
F:推送管理:本站群子站推送内容、推送的内容状态查看、数据推送的栏目对接
G:广告管理:本子站的广告设置
H:操作日志:可以看到本站点的前台和后台所有操作日志

三、快捷更新按钮(首页和栏目看不到更新内容时候,先操作这一波)
凡是发布内容在列表、首页看不到,都先依次操作这个,然后再刷新下页面;主要是原因首页自动静态需要时间,
大分类无法自动静态,可以通过这个手工方式立刻看到效果。

四、切换站点(切换到需要管理的子站)
可以一个人管理多个站点,超管默认管理所有站点;所以必须将站点切换到本站点模式,然后显示相应的后台功能。

五、本站点的几个入口:“会员中心“、 ”查看本站首页”、“进入本站首页标签”
本子站几个重要的入口和出口地址;“会员中心”可以直接进入本站的会员中心, 发布内容和管理内容绝大部分在会员中心:“查看本站首页”点击可以看到首页地址;“进入首页标签”可以查看页面标签状态。

六、子站基本介绍修改
拥有自己的站点后,第一步就是要修改下基本介绍,比如网站名字之类的;入口方式如下:

说明:
“站点名称”并不显示在网页上,只是后台方便识别的名称;
“站点标题”则是显示网站的名称标题,百度能够搜索到,页面可以看到的。


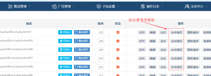
七、子站点设置管理员和投稿员
每个站点需要设置管理员;即可设置站点管理员,也可以设置投稿员;
A:点击对应站点右边的“站点授权”

B、管理员:可以选择多个管理员(发布的内容自动审核通过,并且可以审核投稿员的内容);
投稿员:可以选择多个投稿员(发布的内容需要审核后才通过);
管理角色:这个一般不要选,选了后就让这个角色下的所有用户,都可以管理本站了;

八、后台如何发布内容
发布内容有两个入口,主要在会员中心发布内容和管理内容;
但是同时也可以在特别情况,在后台发布内容和管理内容;一般选择文章模型即可。
会员中心入口:

后台入口:

九、后台子站内容管理
所有用户登录,都集中在此界面;各自选择站点入口; 一般网址是:所有用户登录,都集中在此界面;各自选择站点入口; 一般网址是:
A:内容的筛选

B:内容的基本操作

十、站群子站推送内容给主站
站群系统可以解决信息孤岛的问题,实现子站推送数据给主站门户(一般主站审核后显示):(见另外详细教程)


十一、创建子站栏目
后台可以创建大分类、小栏目,可以批量创建栏目;一般选择文章模型;单篇介绍类内容就选择单网页模型;大分类不能发布内容;最小栏目可以发布内容。(见另外详细教程)

十二、子站栏目管理
栏目管理包括:栏目删除、开启/关闭栏目静态、栏目预览、栏目合并、栏目克隆、编辑栏目、静态内容与栏目操作等。(见另外详细教程)

十三、恢复误删栏目
让误删的栏目一键恢复的功能;(见另外详细教程)

十四、设置本站菜单导航
每个子站都有自己的导航菜单;可以批量进行手工添加和修改;链接主要是栏目的ID不同;(见另外详细教程)

十五、本站广告管理
每个站点都可以开启或关闭自己的广告模块;这些广告首先是主站超管创建,固定分配给某个子站;然后授权给某子站管理员管理;子站只能开启或关闭,不能新增。(见另外详细教程)

十六、进入标签入口(首页、栏目、内页)
如果编辑首页的图片、栏目调用,就可以显示首页标签; 栏目和内页需要显示标签,同样也是显示标签。(见另外详细教程)

本教程文档下载: