如何删除多余标签
多余标签是如何产生的呢,就是比如,你克隆一个站点,就会将源头的标签克隆过来了。你换了模板后,相当于之前的源头标签还存在。如果克隆几十个的话,标签就越积越多。
标签多了,更新缓存,就会时间超时,需要删除部分标签。方法如下:
一、 进入网站后台;
A:登录网站后台---点击主站左边的标签模块!

B:以下面这个网站为列---要删除这个子站里多余的标签如何处理
http://schoolzqys1.php168.net/s.php/yx80/
1)、在站群后台-----找到该子站的别名【yx80】

2)、点击显示标签----鼠标放在上面,可以看到模板的统一前缀(一般某个模板都有一个统一命名的前缀,就是为了方便处理标签;比如这个模板的前缀bwm80)

也可以双击标签点击其他设置--查看标签前缀:

备注:如果模板标签命名不规范,则无法用这个方法处理。
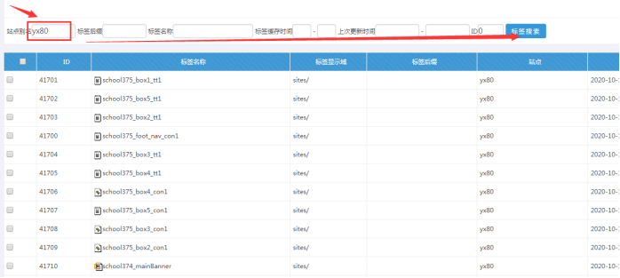
C:在标签模块里面---输入这个站点别名,比如【yx80】------点击标签搜索----可以看到这个站点的所有标签,这个时候,你可以查看是否有多余的。

D、我们看到这个标签里面,很明显,school375开头的,不是当前模板的标签(但是站点后缀是yx80);那么school375
开头的标签哪里来的呢,是由于我们建立站点,喜欢用一键克隆,克隆的源头网站带来的,然后我们换了模板,但
是标签留下来了。如下图:

E、那么就筛选不要的标签,比如标签名称输入【school375】-----点击标签搜索-----然后勾选全部这些不要的标签

点击删除

F、接着点击更新标签缓存,静态子站看看,是否标签正常。如果正常,则没有问题。

备注:原理就是,一个一个站点校验;让每个站点由于克隆造成的多余标签,通过这个方式删除。能够在大体上删除多余标签即可。并不是每个多余标签都要删除。
务必注意,先检查模板制作的时候,是不是有标签规则,有统一的前缀。
本教程下载: