快捷设置整个栏目只设局域网内访问
一、如果是整个栏目只想局域网访问,不允许外网访问
教程方法:
1、从“统一登录”入口进入---------点击对应该“子站会员中心”(其他方式进入该子站会员中心也可以)

2、登录会员中心后-----点击站点管理-----点击管理入口

3、然后进入该子站后台-------点击栏目管理-----只需设置某栏目【启用局域网访问】即可

4、如果我们需要将这个栏目仅限内网访问,具体操作如下,现在开始我们的操作:
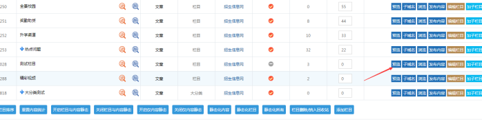
A:选定某个栏目----点击编辑栏目

B:点击更多选项

C、勾选【启用仅限局域网访问】--------此处并提交

5、重新点击栏目----此处变为灰色(外网已经无法访问)

6、点击预览按钮,并复制这个地址(后续要用到)

7、如果我们菜单导航上,也有这个对应上面栏目;那么就需要在导航设置上填写这个上面的动态地址即可

A:点击【子站设置】---本站菜单设置----输入对应的那个预览地址-----点击提交:

8、最后点击更新缓存、静态栏目、静态首页
从左到右点击:

同时点击下静态内容,方法如下:

最后,浏览器上打开首页,快速刷新下,查看效果!
本教程文档下载:
快捷设置整个栏目只设局域网内访问.docx