有时候我们管理员需要对某些内容进行网站头条、幻灯片、推荐等属性设置。就可以用到这个功能,这个需要事先管理员对模板位置先进行标签设置调用。
比如这个首页的幻灯片,设置了内容必须【首页幻灯片】属性的内容才可以显示此处:

一、打开【统一登陆地址】----点击进入【各自站点会员中心】
统一登录的一般网址是: 动态域名/dl.html (具体网址由管理员提供)

二、属性设置方法1(会员中心设置属性):
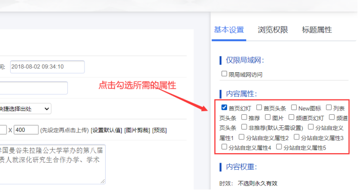
A、点击【我签核的内容】-------点击某篇内容【修改】

B、点击所需的【内容属性】,可以多选-------点击【提交发布】

备注:如果要删除属性,就点击编辑内容,将属性勾选去掉即可。

C、此处可以看到内容属性标记位置

D、点击【我签核的内容】-----点击【更新首页】,然后刷新页面即可

三、属性设置方法2(后台设置属性):
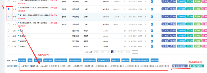
A、在自己站点会员中心--------点击【我签核的内容】-------点击【属性】---提示重新输入账户密码,即可进入后台进行操作

B、勾选对应【属性】,可以多选-------点击【设置内容属性】

E、此处可以看到内容属性标记位置

备注:此方法如果要删除内容属性:
就勾选对应内容----------勾选对应属性--------点击删除内容属性。

四、然后静态首页:
进入本站后台------鼠标放在【更新网站】按钮上--------点击【静态本站首页】:

五、查看效果:
打开对应首页------鼠标快速连续两次点击【刷新】按钮------就可以打开查看到效果了

教程附件:
子站设置内容属性.docx